گردشگری 724 | دنیای گردشگری
  • گردشگری 724
  • میراث فرهنگی
    • فرهنگ و تاریخ (ایران و جهان)
  • جاهای دیدنی ایران و جهان
    • مقاصد سفر
  • راهنمای سفر
  • هتل‌ها
  • غذا و رستوران
  • اقتصاد گردشگری
    • بانک و فارکس
      • ارزدیجیتال
    • صنعت و تجارت و خدمات
      • خودرو
    • کارآفرینی و بازاریابی
    • اخبار گوناگون عمومی و سرگرمی
      • پزشکی، سلامت و زیبایی
      • سیاسی، اجتماعی و حقوقی
      • کشاورزی و دامپروری
      • فناوری
      • ورزشی
  • 724
    • همسفر ایرانی
    • بلیط اتوبوس
    • تور قشم بدون پیش پرداخت
    • تمکن مالی اسپانیا
۲
اسفند
  • گردشگری 724
  • میراث فرهنگی
    • فرهنگ و تاریخ (ایران و جهان)
  • جاهای دیدنی ایران و جهان
    • مقاصد سفر
  • راهنمای سفر
  • هتل‌ها
  • غذا و رستوران
  • اقتصاد گردشگری
    • بانک و فارکس
      • ارزدیجیتال
    • صنعت و تجارت و خدمات
      • خودرو
    • کارآفرینی و بازاریابی
    • اخبار گوناگون عمومی و سرگرمی
      • پزشکی، سلامت و زیبایی
      • سیاسی، اجتماعی و حقوقی
      • کشاورزی و دامپروری
      • فناوری
      • ورزشی
  • 724
    • همسفر ایرانی
    • بلیط اتوبوس
    • تور قشم بدون پیش پرداخت
    • تمکن مالی اسپانیا
قاب جدید آیفون برای تقویت ارتباط ماهواره‌ای / عکس

قاب جدید آیفون برای تقویت ارتباط ماهواره‌ای / عکس

فناوری

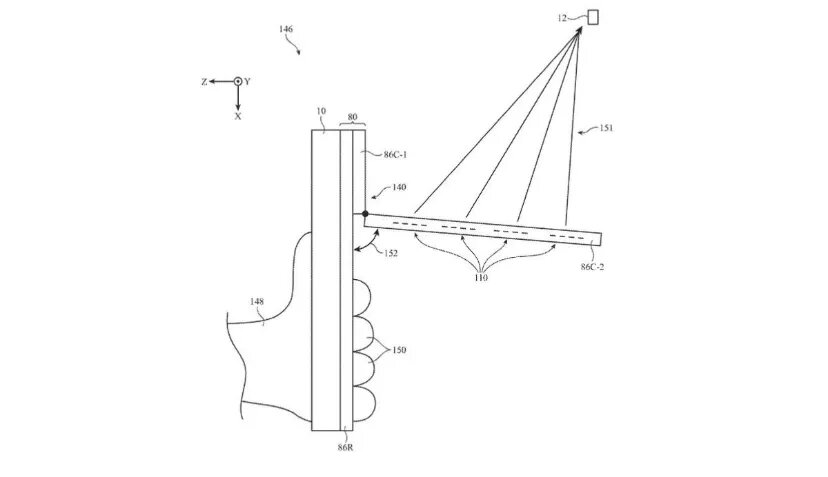
اپل در سال ۲۰۲۴ درخواست ثبت اختراعی با عنوان «دستگاه الکترونیکی و قاب مجهز به قابلیت‌های ارتباط ماهواره‌ای» ارائه کرد که اکنون جزئیاتش رسانه‌ای شده است. طرح یادشده به قابی اشاره دارد که با بهره‌گیری از آنتن‌های بیشتر و پیشرفته‌تر می‌تواند کیفیت اتصال ماهواره‌ای گوشی آیفون را بهبود بدهد.

خبرآنلاین
اسفند 1, 1404
5 بازدیدها
0 Comments

به گزارش خبرآنلاین، به نقل از زومیت، ظاهراً قاب مخصوص اپل برای آیفون و آیپد طراحی شده است. در تصویر ضمیمه‌شده به پرونده، بخشی تاشدنی دیده می‌شود که با باز شدن به‌سمت آسمان قرار می‌گیرد تا آرایه‌ آنتن فازی داخلی سیگنال ماهواره‌ای قوی‌تری دریافت کند. چنین قابی مانع از مسدودسازی سیگنال‌های ماهواره‌ای توسط دست می‌شود، زیرا کاربر مستقیماً با بخش حاوی آنتن تماس نخواهد داشت.

قاب جدید آیفون برای تقویت ارتباط ماهواره‌ای / عکس
طرح مفهومی قاب جدید اپل برای توضیح نحوه‌ی تقویت اتصال ماهواره‌ای

قاب جدید آیفون امکان اتصال به مجموعه‌ای از ماهواره‌ها را فراهم می‌کند. این قاب به‌صورت ماژولار نصب و جدا می‌شود و از نظر کاربری تفاوتی با نمونه‌های رایج ندارد.

نکته‌ی مهم درباره‌ی چنین پرونده‌هایی به ماهیت آن‌ها بازمی‌گردد. شرکت‌های فناوری مانند اپل به‌طور مداوم ایده‌های متعددی را در قالب پتنت ثبت می‌کنند که بسیاری هرگز به مرحله‌ی تولید نمی‌رسند. اسناد ثبت اختراع بیش از آنکه نشان‌دهنده‌ی محصولی درحال توسعه باشند، اثبات کارکرد پتنت محسوب می‌شوند. پس هنوز نمی‌توان گفت که قاب جدید اپل به مرحله‌ی تولید انبوه می‌رسد یا خیر.

۵۸۵۸

نوشته های مرتبط:

  • آخرین وضعیت رسیدگی به پرونده فساد فوتبال کرمان/ پرونده قتل الهه حسین نژاد به کجا رسید؟_694135727a4c5.jpeg
    آخرین وضعیت رسیدگی به پرونده فساد فوتبال کرمان/…
  • انقلاب اپل رسما آغاز شد؛‌ از طراحی جدید تا هوش مصنوعی که مکالمات را زنده ترجمه می‌کند
    انقلاب اپل رسما آغاز شد؛‌ از طراحی جدید تا هوش…
  • برخورد قانونی با مقصران آتش‌سوزی جنگل‌های هیرکانی/ 530 هزار کارت سوخت غیرمجاز در هرمزگان شناسایی و باطل شد_692ec0642a26a.jpeg
    برخورد قانونی با مقصران آتش‌سوزی جنگل‌های هیرکانی/…
  • هاب منطقه شدن با تحریم تقریبا غیرممکن است / استفاده از استارلینک در کشور فقط به خاطر فیلترینگ نیست_692b20ca9f34a.jpeg
    هاب منطقه شدن با تحریم تقریبا غیرممکن است / استفاده…

هیچ دیدگاهی درج نشده - اولین نفر باشید

دیدگاهتان را بنویسید لغو پاسخ

نشانی ایمیل شما منتشر نخواهد شد. بخش‌های موردنیاز علامت‌گذاری شده‌اند *

3 × 5 =

اخبار گردشگری

  • انتقال مصدوم سقوط از ارتفاع‌ با هواپیمای اورژانس استان تهران
  • قاب جدید آیفون برای تقویت ارتباط ماهواره‌ای / عکس
  • دو نسخه برای صنعت خودرو؛ رقابت‌گریزی ایرانی یا رقابت‌پذیری ژاپنی
  • از خود ناراضی
  • پرتقاضاترین پسوند دامنه فارسی در اینترنت
  • اینترنت کوانتومی از راه رسید / ثبت رکوردی تازه
  • روبوتاکسی، قمار جدید تسلا
  • ۵۱ درصد مدیریت نظام سلامت دست زیرمیزی بگیران است
  • توصیه‌های تغذیه‌ای به روزه داران؛ از افطار تا سحر چی بخوریم
  • نرخ ارز دارو و تجهیزات در ۱۴۰۵ مشخص شد
  • یکی از ویژگی‌های قدیمی تلگرام در واتساپ فعال شد
  • ضبط تماس در گوشی‌های گوگل به‌صورت جهانی فعال شد
  • ماجراجویی در شهر شن های طلایی و برج های نقره ای مقاصد : دبی سفرنامه های ۱۴۰۴ سلام به دوستان علاقمند به گردشگری و تجربیات سفر سعی می کنم در این نوشتار تجربه سفر 5 روزه به شهر دبی رو در اختیارتان بگذارم، شاید برای بعضی ها جالب باشد و قابل استفاده. افزایش اختلاف قیمت دلار مسافرتی با دلار آزاد در اوایل آبان 1 ایمان 0 158 4 30 بهمن 1404 12:00 ادامه مطلب
  • دسترسی کاربران ایرانی به فیلترشکن‌ها قطع می‌شود؟
  • صنایع‌دستی مازندران در راه بازارهای اروپا و آسیا
  • درباره گردشگری 724
  • حریم شخصی کاربران
  • بازنشر محتوا
  • ارتباط با تیم گردشگری 724
  • خرید رپورتاژآگهی
  • عصر گردشگری
  • قیمت تور مالدیو
  • رزرو هتل تهران

تمام حقوق مادی و معنوی این سایت متعلق به  گردشگری 724 است و استفاده از مطالب با ذکر منبع بلامانع است.

  • گردشگری 724
  • میراث فرهنگی
    • فرهنگ و تاریخ (ایران و جهان)
  • جاهای دیدنی ایران و جهان
    • مقاصد سفر
  • راهنمای سفر
  • هتل‌ها
  • غذا و رستوران
  • اقتصاد گردشگری
    • بانک و فارکس
      • ارزدیجیتال
    • صنعت و تجارت و خدمات
      • خودرو
    • کارآفرینی و بازاریابی
    • اخبار گوناگون عمومی و سرگرمی
      • پزشکی، سلامت و زیبایی
      • سیاسی، اجتماعی و حقوقی
      • کشاورزی و دامپروری
      • فناوری
      • ورزشی
  • 724
    • همسفر ایرانی
    • بلیط اتوبوس
    • تور قشم بدون پیش پرداخت
    • تمکن مالی اسپانیا